Pressley Tester for Fiber Bundle Strength Calculation
Experiment Name
Study on pressley tester for fiber bundle strength calculation./ Study on how to calculate pressley index, tenacity, and tensile strength of fiber by using the Pressley Tester.
Introduction
Fiber strength is one of the crucial properties of cotton. The determination of strength on single fibers need considerable amount of time. So, the Pressley tester is used to determine the fiber bundle strength. It is a common testing method. Though the stelometer is a popular method for fiber bundle strength in the textile industry. However, this experiment is about fiber bundle strength calculation by using the Pressley Tester. The Pressley Tester measures the breaking strength of a bundle of parallel fibers. It gives an average strength value for the sample.
Objectives
- To know about fiber bundle strength test method.
- To understand the principle of the Pressley Tester.
- Come to learn how to calculate fiber bundle strength by using the Pressley Tester.
Apparatus
| Pressley clamps | Vice |
| Coarse comb | Fine comb mounted on the vice |
| Wrench | Knife |
| Pincers | Fiber |
Pressley Tester Principle
Pressley Tester is a balance type of tester and is working on the principle of moments.

AB is a beam having a fulcrum at the point of KA. Force F is applied at a distance d1 from K, and the beam is kept in equilibrium or in balance by the tension P developed in the specimen. P acts at a distance d2 from K. Taking moments at the pivot K:
- Moment= force × force arm
- Anticlockwise moment= F × d1
- Clockwise moment= P × d2
Since the sum of the clockwise moments is equal to the sum of the anticlockwise moments.
- P × d2 = F × d1
The load on the specimen may be varied by changing the value of the force F or by changing the distance from the fulcrum at which a constant force F acts.
Main parts of Pressley Tester
There are three main components of the tester: a pressley clamp, a clamp vice (clamp’s tongs), and a break apparatus (main machine).
1. Pressley Clamp

| 1= Pressure block | 2= Screw for pressure | 3= Lock of pressure block |
| 4= Bulgy nail | 5= Leather |
It is actually fiber clamps. The Pressley holder is comprised of two nip pieces, each with a thickness of 0.232in (5.9mm). When these two nip pieces inosculate, each with a bulging nail corresponds to the other with a concave aperture, resulting in a gauge length of 0 inches. The total thickness of the two nip pieces is 0.464in (11.8mm). The clamp’s top is a pressure block affixed leather, so the pressure block with pliability won’t destroy fibers when making screw fit, and prevent fibers from slipping when they are made fit. Also included is a screw for adjusting the level of tightness and pressure. When testing, usually use 0in gauge length, but also 1/8in (3.2mm) gauge length.
2. Clamp Vice

| 1= Jaw | 2= Spanner for pressure | 3= Guillotine |
| 4= Thin steel comb | 5= Spring of guillotine |
The clamp vice is used for coordinating fasciculi and clamping them. The clamp vice is equipped with a spanner to mount or demount the clamp, a guillotine to pin fasciculi, and a thin steel comb to tease them.
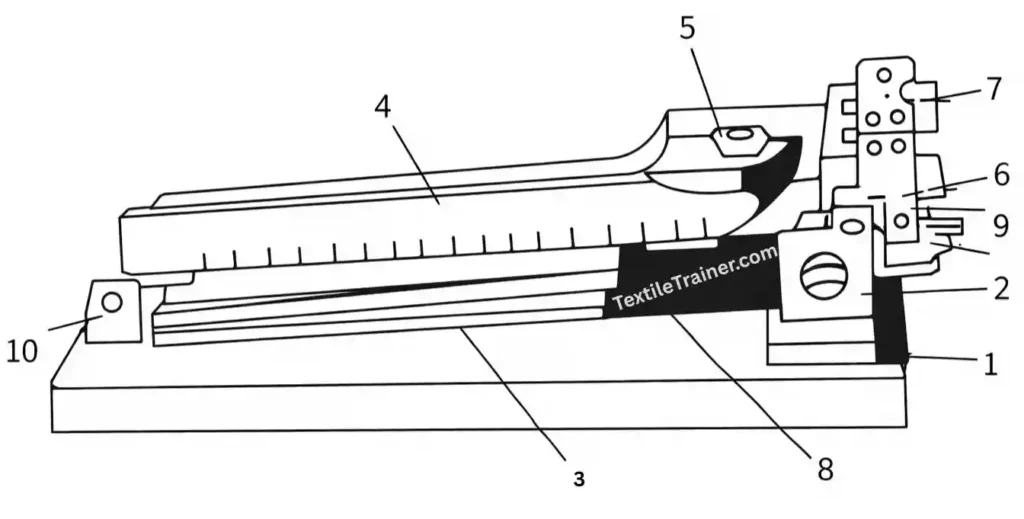
3. main Machine

| 1= Base | 6= Weight beam arm |
| 2= Fulcrum | 7= Stowage jaws |
| 3= Sway rod | 8= Weights counterbalance |
| 4= Weight beam | 9= Switch of weights counter balance |
| 5= Level bleb | 10= Level adjusting screw |
The Pressley fiber strength tester, as shown in figure 4 , contains a weight beam with a force scale division in pounds on the base. The weight beam can swing up and down by the fulcrum, and there is an arm mounted on the base.
Sample Preparation
1. For “0” gauge length test
The Pressley Tester tests a small flat bundle of fibers gripped between special clamps knows as Pressley clamps. From the bulk of the cotton fibers, a small tufts of fibers are selected at random and manipulated into a parallel ribbon about ¼ inch wide. A coarse hand comb is used initially and for final combing, a small comb mounted on a vice is used to remove the short fibers present. Then the ribbon of the fibers is placed across the clamps which are held in the vice. The top jaws of the clamps are then pressed over the fibers and tightened to the a predetermined limit using a wrench. Now a fringe of fiber will protrude from each at the clamp. These fibers are trimmed off using a knife.
At this stage, the length of the test sample is 0.464 inch and its width is ¼ inch the gauge length is 0 (zero) because there is now space between the tow clamps.
2. for 1/8 inch (3 mm) gauge length test
For this, a place called spacer of thickness 1/3 inch ( 3mm) is placed between the clamps. The the sample is prepared as before and the length of the sample is 0.590 inch and its width is ¼ inch.
Working process

- The heavy rolling weight is initially held in passion by a catch.
- Then the prepared clamps are inserted into the grooves in the clamping block and catch is released.
- As the weight moves away from the beam pivot, the end B of the beam rises which moves the upper clamp upwards and away from the fixed lower clamp.
- As a result, a force will be exerted on the ribbon of fibers and breaks it. As soon as the ribbon breaks, the beam drops and a braking device causes the rolling weight to be stopped instantly.
- The distance traveled by the rolling weight is a measure of the load required to break the specimen and is noted down from the scale calibrated on the beam.
- The clamps are then removed from the tester, the tow halves of the broken specimen are collected and weighted on a torsion balance in mg.
Fiber Bundle strength Calculation
From the braking load of fibers in pounds and the weight in mg, the following calculations can be made.
1. At “0” gauge length test
- Pressley Index (PI)= Breaking strength in pounds ÷ Bundle weight in mg
- Tenacity in gm/tex= 5.36 × PI
- Tensile strength in 1000 pounds/square inch= 10.8116 × PI -0.12
- Note: the Pressley Index will range from 7 for weaker cotton and from 11 for stronger cotton.
2. At 1/8 inch (3mm) gauge length test
- Pressley Index (PR)= Breaking strength in pounds ÷ Bundle weight in mg
- Tenacity in gm/tex= 6.8 × PR
- Fiber strength index (FSI)= (PR ÷ 3.19) × 100
- Tensile strength in 1000 pounds/ square inch= (FSI × 84) ÷ 100
From the values of fiber strength index, the fiber can be classified as follows:
| Fiber strength index (FSI) | Catergory |
| 93 and above | Superior |
| 87-92 | Very strong |
| 81-86 | Strong |
| 75-80 | Average |
| 70-74 | Fair |
| Less than 70 | weak |
Conclusion
The Pressley Tester is used to measure the bundle strength of cotton fibers. The result of fiber bundle strength helps to determine the fiber quality. From this experiment, we come to learn details about the Pressley Tester, fiber strength calculation as well as pressley index calculation. This will help in our career life.
Reference
- Booth, J. (2008). Principles of Textile Testing. New Delhi: BS Publishers & Distributors.
- P. Angappan, R. G. (2009). Textile Testing. Tamil Nadu: S.S.M. Institute of Textile Technology.
- Saville, B. P. (1999). Physical Testing of Textiles. New York: Woodhead Publishing Limited.
- Wang, L. C. (2008). Physical and mechanical testing of textiles. In Fabric Testing (pp. 90-124). New York: WoodHead Publishing Limited.
- Lab Manual of Pressley tester provided by FYI
